| وضعیت در دسترس بودن: | |
|---|---|
| مقدار: | |
ضخیم کننده GNZ
Toncin
ژنرال
ضخیمکنندههای معمولی معمولی برای دستیابی به ضخیم شدن و آبگیری به تهنشینی گرانشی مواد متکی هستند. اگرچه این دستگاه ها هزینه های عملیاتی نسبتاً پایینی دارند، اما از محدودیت هایی مانند ظرفیت پردازش پایین و نیاز به فضای زیاد رنج می برند. با پیشرفت مداوم فن آوری، به ویژه کاهش هزینه های لخته، صنعت به طور گسترده ای از ساختارهای تجهیزات بهینه همراه با لخته سازها برای افزایش راندمان آبگیری استفاده کرده است.
بر اساس فناوری ضخیمسازی گروه بریتانیایی SUNNY و ترکیب فرآیندهای ضخیمسازی بهروز شده بینالمللی، ما با موفقیت طیفی از ضخیمکنندههای جدید با کارایی بالا، از جمله ضخیمکننده با سرعت بالا درایو مرکزی سری GNZ، ضخیمکننده با سرعت بالا مخروطی عمیق SGN و ضخیمکننده فشار بالا با نرخ بالا GNYZ را توسعه دادهایم.
این ضخیمکنندهها از نظر ساختاری سیستمهای محرک مرکزی و کشش محیطی را ادغام میکنند و دارای یک مخزن با شیب متغیر است که با طراحی مخروطی عمیق ادغام شده است و سازگاری انعطافپذیری را با نیازهای کاربردی صنایع مختلف ارائه میدهد. ضخیمکنندههای جدید با معرفی مکانیزم همافزایی «رسوبسازی-فیلتراسیون» در طول عملیات، بهینهسازی طراحی ساختاری و استفاده از لختهسازها برای افزایش آبگیری، مزایای قابلتوجهی از جمله رسوبگذاری سریع، ظرفیت پردازش بالا و چگالی زیر جریان بالا را نشان میدهند.
در حال حاضر، این سری از تجهیزات به طور گسترده در آبگیری مواد معدنی مختلف فلزی و غیرفلزی و همچنین در فرآیندهای جداسازی جامد از مایع در صنایعی مانند متالورژی، زغال سنگ، مواد شیمیایی، تصفیه باطله معادن و حفاظت از محیط زیست استفاده شده است.
ویژگی ها
استفاده از بدنه مخزن گرد شکل، کف مخزن با شیب متغیر یا مخروطی عمیق میتواند به فیلتراسیون عمیق و فشردهسازی عمیق دست یابد، و کف مخزن با شیب متغیر میتواند آلودگی را از بین ببرد و جریان زیربنایی با غلظت بالا را به سمت مرکز تسریع بخشد؛ و راندمان غلظت را تا حد زیادی سرعت بخشد. ضخیمکننده معمولی و غلظت زیر جریان میتواند به 40 تا 70% 2 برسد. سیستم رانندگی با قابلیت بسیار بالا و سیستم حفاظت رانندگی مکانیزم چرخشی توسط گیربکس سیارهای با سرعت بالا از طریق موتور هیدرولیک با سرعت پایین یا موتور محرک هدایت میشود. و بالابر با چنگک توسط دستگاه بالابر انجام میشود و تعداد شنکشهای چرخشی کاهش مییابد در بالابرهای هیدرولیک در حال کار. موازی، برای فعال کردن تخلیه بار رانندگی و کاهش بار به منظور محافظت از سیستم رانندگی. طراحی ماژولار برای سیستم رانندگی با قابلیت بالا به کار گرفته شده است، و قطعات استاندارد باید تا حد امکان استفاده شوند، برای برآورده کردن الزامات برای سریال سازی تجهیزات، با ویژگی های قابل توجه زیر در مقایسه با
واحد محرک معمولی: A. گیربکس سیاره ای ظرفیت بارگذاری و گشتاور پایداری را فراهم می کند. ب. نظارت دقیق سیستم تورگو را می توان از طریق اندازه گیری سنسور فشار هیدرولیک یا گشتاور سنج برای شفت موتور محرک اصلی تحقق بخشید، به طوری که حفاظت موثر برای دستگاه درایک درایک یا راه اندازی مانیتور فشار رانده می شود. فشار هیدرولیک، شروع هشدار و نوک موتور از طریق نظارت سوئیچ فشار جداگانه تنظیم سوپاپ آزاد کننده فشار در مدار هیدرولیک می تواند تضمین کند که دستگاه محرک مطلقاً نمی تواند از گشتاور نامی طراحی تجاوز کند و گشتاور بیش از حد نمی تواند اتفاق بیفتد.
سیستم تغذیه با سرعت بالا دارای عملکردهایی مانند گاز زدایی کافی، کنترل نرخ تغذیه خمیر کاغذ، کنترل دوز فلوکولنت و ساختار معقول سیلندر تغذیه است.
ساختار
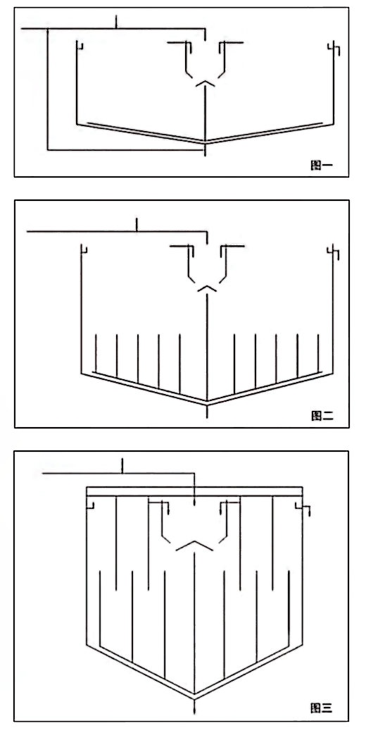
ضخیمکننده با حالت بالا SUNNY را میتوان به غلظتدهنده عمومی با نرخ بالا، ضخیمکننده با غلظت بالا و ضخیمکننده خمیر مخروطی عمیق بر اساس غلظت زیر جریان تقسیم کرد.
1. یک غلیظ کننده عمومی با نرخ hl، le. ضخیم کننده با سرعت بالا متمرکز کننده GNZ، دارای شیب 7-9 درجه برای کف مخزن و ارتفاع 3 متر برای صاف آن است، در حالی که غلظت زیر جریان آن به طور معمول می تواند به 45-50٪ برسد.
2. ضخیم کننده با غلظت بالا، دارای شیب 14 ~ 20 درجه برای کف مخزن خود و یک سمت صاف کمی بالاتر از یک ضخیم کننده معمولی با سرنوشت بالا است. همچنین می توان از تکنیک جانبی شیبدار استفاده کرد، ضخیم کننده GNYZ با حالت بالا و فشار بالا. غلظت زیر جریان می تواند به طور معمول به 55-60٪ برسد.
3. ضخیم کننده خمیر، ضخیم کننده بالا مخروطی عمیق 1.e.SGN، دارای شیب بیشتر 25 ~ 35 درجه برای کف مخزن و ارتفاع بیش از 6 متر برای سمت صاف آن است (ارتفاع با افزایش قطر مخزن افزایش می یابد) نسبت ارتفاع به قطر آن می تواند به 0.4 ~ 1.2 و به طور معمول به غلظت بالای جریان برسد.
ژنرال
ضخیمکنندههای معمولی معمولی برای دستیابی به ضخیم شدن و آبگیری به تهنشینی گرانشی مواد متکی هستند. اگرچه این دستگاه ها هزینه های عملیاتی نسبتاً پایینی دارند، اما از محدودیت هایی مانند ظرفیت پردازش پایین و نیاز به فضای زیاد رنج می برند. با پیشرفت مداوم فن آوری، به ویژه کاهش هزینه های لخته، صنعت به طور گسترده ای از ساختارهای تجهیزات بهینه همراه با لخته سازها برای افزایش راندمان آبگیری استفاده کرده است.
بر اساس فناوری ضخیمسازی گروه بریتانیایی SUNNY و ترکیب فرآیندهای ضخیمسازی بهروز شده بینالمللی، ما با موفقیت طیفی از ضخیمکنندههای جدید با کارایی بالا، از جمله ضخیمکننده با سرعت بالا درایو مرکزی سری GNZ، ضخیمکننده با سرعت بالا مخروطی عمیق SGN و ضخیمکننده فشار بالا با نرخ بالا GNYZ را توسعه دادهایم.
این ضخیمکنندهها از نظر ساختاری سیستمهای محرک مرکزی و کشش محیطی را ادغام میکنند و دارای یک مخزن با شیب متغیر است که با طراحی مخروطی عمیق ادغام شده است و سازگاری انعطافپذیری را با نیازهای کاربردی صنایع مختلف ارائه میدهد. ضخیمکنندههای جدید با معرفی مکانیزم همافزایی «رسوبسازی-فیلتراسیون» در طول عملیات، بهینهسازی طراحی ساختاری و استفاده از لختهسازها برای افزایش آبگیری، مزایای قابلتوجهی از جمله رسوبگذاری سریع، ظرفیت پردازش بالا و چگالی زیر جریان بالا را نشان میدهند.
در حال حاضر، این سری از تجهیزات به طور گسترده در آبگیری مواد معدنی مختلف فلزی و غیرفلزی و همچنین در فرآیندهای جداسازی جامد از مایع در صنایعی مانند متالورژی، زغال سنگ، مواد شیمیایی، تصفیه باطله معادن و حفاظت از محیط زیست استفاده شده است.
ویژگی ها
استفاده از بدنه مخزن گرد شکل، کف مخزن با شیب متغیر یا مخروطی عمیق میتواند به فیلتراسیون عمیق و فشردهسازی عمیق دست یابد، و کف مخزن با شیب متغیر میتواند آلودگی را از بین ببرد و جریان زیربنایی با غلظت بالا را به سمت مرکز تسریع بخشد؛ و راندمان غلظت را تا حد زیادی سرعت بخشد. ضخیمکننده معمولی و غلظت زیر جریان میتواند به 40 تا 70% 2 برسد. سیستم رانندگی با قابلیت بسیار بالا و سیستم حفاظت رانندگی مکانیزم چرخشی توسط گیربکس سیارهای با سرعت بالا از طریق موتور هیدرولیک با سرعت پایین یا موتور محرک هدایت میشود. و بالابر با چنگک توسط دستگاه بالابر انجام میشود و تعداد شنکشهای چرخشی کاهش مییابد در بالابرهای هیدرولیک در حال کار. موازی، برای فعال کردن تخلیه بار رانندگی و کاهش بار به منظور محافظت از سیستم رانندگی. طراحی ماژولار برای سیستم رانندگی با قابلیت بالا به کار گرفته شده است، و قطعات استاندارد باید تا حد امکان استفاده شوند، برای برآورده کردن الزامات برای سریال سازی تجهیزات، با ویژگی های قابل توجه زیر در مقایسه با
واحد محرک معمولی: A. گیربکس سیاره ای ظرفیت بارگذاری و گشتاور پایداری را فراهم می کند. ب. نظارت دقیق سیستم تورگو را می توان از طریق اندازه گیری سنسور فشار هیدرولیک یا گشتاور سنج برای شفت موتور محرک اصلی تحقق بخشید، به طوری که حفاظت موثر برای دستگاه درایک درایک یا راه اندازی مانیتور فشار رانده می شود. فشار هیدرولیک، شروع هشدار و نوک موتور از طریق نظارت سوئیچ فشار جداگانه تنظیم سوپاپ آزاد کننده فشار در مدار هیدرولیک می تواند تضمین کند که دستگاه محرک مطلقاً نمی تواند از گشتاور نامی طراحی تجاوز کند و گشتاور بیش از حد نمی تواند اتفاق بیفتد.
سیستم تغذیه با سرعت بالا دارای عملکردهایی مانند گاز زدایی کافی، کنترل نرخ تغذیه خمیر کاغذ، کنترل دوز فلوکولنت و ساختار معقول سیلندر تغذیه است.
ساختار
ضخیمکننده با حالت بالا SUNNY را میتوان به غلظتدهنده عمومی با نرخ بالا، ضخیمکننده با غلظت بالا و ضخیمکننده خمیر مخروطی عمیق بر اساس غلظت زیر جریان تقسیم کرد.
1. یک غلیظ کننده عمومی با نرخ hl، le. ضخیم کننده با سرعت بالا متمرکز کننده GNZ، دارای شیب 7-9 درجه برای کف مخزن و ارتفاع 3 متر برای صاف آن است، در حالی که غلظت زیر جریان آن به طور معمول می تواند به 45-50٪ برسد.
2. ضخیم کننده با غلظت بالا، دارای شیب 14 ~ 20 درجه برای کف مخزن خود و یک سمت صاف کمی بالاتر از یک ضخیم کننده معمولی با سرنوشت بالا است. همچنین می توان از تکنیک جانبی شیبدار استفاده کرد، ضخیم کننده GNYZ با حالت بالا و فشار بالا. غلظت زیر جریان می تواند به طور معمول به 55-60٪ برسد.
3. ضخیم کننده خمیر، ضخیم کننده بالا مخروطی عمیق 1.e.SGN، دارای شیب بیشتر 25 ~ 35 درجه برای کف مخزن و ارتفاع بیش از 6 متر برای سمت صاف آن است (ارتفاع با افزایش قطر مخزن افزایش می یابد) نسبت ارتفاع به قطر آن می تواند به 0.4 ~ 1.2 و به طور معمول به غلظت بالای جریان برسد.